摘 要:本发明公开了一种乘坐履带式苎麻收割打捆机的间隔输送机构,其若干间隔板由输送链处向着第一输送通道延伸设置,驱动缸连接至间隔板的后方用于驱动间隔板间歇性收回或伸出,间隔板在延伸入第一输送通道的输出端时,将第一输送通道分隔为苎麻可沿着输送链继续向后输送的输送区,以及苎麻被间隔板所阻挡进行缓存的停留区;从第一输送通道输入端到达输出端的苎麻被分隔分别进入输送区和停留区,从前一输送区沿着第二输送通道被输送的苎麻到达后一停留区被缓存,当输送链运行时,驱动缸进行间歇性的收回或伸出间隔板,间隔板收回时释放停留区的苎麻继续向后输送,伸出时重新进行苎麻缓存。本发明实现苎麻的间歇性输送,缓解传统输送结构的拥挤情况。
权利要求书
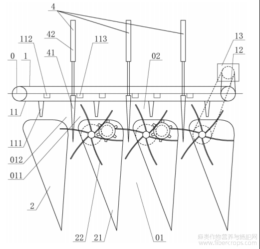
1 .一种乘坐履带式苎麻收割打捆机的间隔输送机构,包括机架(0),所述机架(0)前部设置链条式输送机构(1),所述链条式输送机构(1)前方设置用于对苎麻进行分散并向后输送的分禾机构(2),所述链条式输送机构(1)的输出端设置有打捆机构(3);所述分禾机构(2)沿着链条式输送机构(1)的输送方向进行布置若干组;所述链条式输送机构(1)包括绕设成环形的输送链(11),所述分禾机构(2)包括三角板(21)和设置于其后部的拨杆齿轮(22);若干组三角板(21)之间间隔设置形成供苎麻进入的第一输送通道(01),拨杆齿轮(22)于第一输送通道(01)的后部旋转承接苎麻并输送向输送链(11),所述三角板(21)和输送链(11)之间间隔形成苎麻输送的第二输送通道(02);
其特征在于:还包括有若干组间隔机构(4),所述间隔机构(4)的数量和位置与第一输送通道(01)的数量和位置对应设置,所述间隔机构(4)包括间隔板(41)和驱动缸(42),若干间隔板(41)由输送链(11)处向着第一输送通道(01)延伸设置,驱动缸(42)连接至间隔板(41)的后方用于驱动间隔板(41)间歇性的收回或伸出,间隔板(41)在延伸入第一输送通道(01)的输出端时,将第一输送通道(01)分隔为苎麻可沿着输送链(11)继续向后输送的输送区(011),以及苎麻被间隔板(41)所阻挡进行缓存的停留区(012);从第一输送通道(01)输入端到达输出端的苎麻被分隔分别进入输送区(011)和停留区(012),从前一输送区(011)沿着第二输送通道(02)被输送的苎麻到达后一停留区(012)被缓存,当输送链(11)运行时,驱动缸(42)进行间歇性的收回或伸出间隔板(41),间隔板(41)收回时释放停留区(012)的苎麻继续向后输送,输出时重新进行苎麻缓存。
2.根据权利要求1所述的一种乘坐履带式苎麻收割打捆机的间隔输送机构,其特征在于:所述间隔板(41)的左右两面均设置为斜面,进而令间隔板(41)的横截面呈锥形,停留区(012)所在一侧的斜面用于引导缓存的苎麻向远离输送链(11)的方向的活动,输送区(011)所在一侧的斜面用于引导第一输送通道(01)方向输送而来的苎麻向靠近输送链(11)以及第二输送通道(02)的方向活动。
3.根据权利要求1所述的一种乘坐履带式苎麻收割打捆机的间隔输送机构,其特征在于:所述输送链(11)上均匀设置有用于抵触苎麻进行输送的送料齿(iii),所述机架(0)在对应三角板(21)的位置设置有用于感应送料齿(iii)到达的第一传感器(112),机架(0)在对应间隔板(41)所在的位置设置有用于感应送料齿(iii)离开的第二传感器(113),当送料齿(iii)运行至被第一传感器(112)感应时,第一传感器(112)反馈信号至驱动缸(42)驱动间隔板(41)收回,当送料齿(iii)运行至被第二传感器(113)感应时,第一传感器(112)反馈信号至驱动缸(42)驱动间隔板(41)伸出。
4.根据权利要求3所述的一种乘坐履带式苎麻收割打捆机的间隔输送机构,其特征在于:所述链条式输送机构(1)还包括用于绕设输送链(11)的链轮(12)、以及连接至链轮(12)处进行动力驱动的伺服电机(13);位于一侧的三角板(21)上的拨杆齿轮(22)作为主动旋转轮(221),所述伺服电机(13)通过传动机构(14)连接至主动旋转轮(221),其他三角板(21)上的拨杆齿轮(22)作为被动旋转轮(222),被动旋转轮(222)在其三角板(21)处连接有传动齿轮(23)进行联动;主动旋转轮(221)在旋转时其齿结构拨动其相邻的传动齿轮(23)进行旋转,进而带动对应的被动旋转轮(222)旋转;被动旋转轮(222)在旋转时其齿结构拨动其相邻的传动齿轮(23)进行旋转,进而依次传递动力令后序的被动旋转轮(222)旋转;伺服电机(13)作为主动旋转轮(221)旋转的动力源,进而令输送链(11)和拨杆齿轮(22)进行同步驱动。
5.根据权利要求4所述的一种乘坐履带式苎麻收割打捆机的间隔输送机构,其特征在于:所述送料齿(111)和拨杆齿轮(22)的齿结构在运行时设置为同步经过第二传感器(113)所在位置。
6.根据权利要求4所述的一种乘坐履带式苎麻收割打捆机的间隔输送机构,其特征在于:所述被动旋转轮(222)同轴设置有第一齿轮(231),所述传动齿轮(23)同轴设置有第二齿轮(232),所述第一齿轮(231)和第二齿轮(232)相啮合,进而令被动旋转轮(222)和传动齿轮(23)进行联动。
7 .根据权利要求4所述的一种乘坐履带式苎麻收割打捆机的间隔输送机构,其特征在于:所述主动旋转轮(221)、被动旋转轮(222)、传动齿轮(23)的齿结构数量相同,所述主动旋转轮(221)和被动旋转轮(222)的齿结构具有弧形端(223),所述主动旋转轮(221)和被动旋转轮(222)的弧形端(223)在旋转进入传动齿轮(23)的齿结构之间后前部抵触传动齿轮(23)的齿结构进行旋转。
8.根据权利要求4所述的一种乘坐履带式苎麻收割打捆机的间隔输送机构,其特征在于:所述传动机构(14)包括分别与伺服电机(13)、主动旋转轮(221)连接联动的传动轮(141)、以及于传动轮(141)进行啮合联动的传动链(142)。
技术领域
本发明涉及一种农业机械设备,更具体的说是一种乘坐履带式苎麻收割打捆机的间隔输送机构。
背景技术
苎麻收割打捆机的切割输送机构设置在前部,切割输送机构由上至下依次设置链条式输送机构和切割机构,链条式输送机构和切割机构的前方设置用于引导苎麻的分禾机构,苎麻被引导至切割机构处从根部切断,然后被切断的苎麻被链条式输送机构输送向侧边,由出口端设置的打捆机构进行打捆然后输出。其中的分禾机构具有多个苎麻输送空间,苎麻从多个苎麻输送空间处到达链条式输送机构的不同长度位置,然后被带动向一侧的打捆机构输送,对于靠近打捆机构的若干个苎麻输送空间,其对应的链条式输送机构不仅要承接苎麻输送空间刚输送过来的苎麻,并且前序的苎麻也在随着运行输送过来;因此,越靠近打捆机构的苎麻输送空间越显拥挤,这可能会影响到正常的苎麻输送,这就需要一定的结构设计,来对输送的苎麻进行间隔缓冲,避免输送的拥挤。
发明内容
针对现有技术存在的不足,本发明的目的为提供一种乘坐履带式苎麻收割打捆机的间隔输送机构,通过间隔板进行区域的分隔,再通过间歇性的将间隔板收回或伸出,实现苎麻的间歇性输送,缓解传统输送结构的拥挤情况。
为实现上述目的,本发明提供了如下技术方案:一种乘坐履带式苎麻收割打捆机的间隔输送机构,包括机架,机架前部设置链条式输送机构,链条式输送机构前方设置用于对苎麻进行分散并向后输送的分禾机构,链条式输送机构的输出端设置有打捆机构;分禾机构沿着链条式输送机构的输送方向进行布置若干组;链条式输送机构包括绕设成环形的输送链,分禾机构包括三角板和设置于其后部的拨杆齿轮;若干组三角板之间间隔设置形成供苎麻进入的第一输送通道,拨杆齿轮于第一输送通道的后部旋转承接苎麻并输送向输送链,三角板和输送链之间间隔形成苎麻输送的第二输送通道;还包括有若干组间隔机构,间隔机构的数量和位置与第一输送通道的数量和位置对应设置,间隔机构包括间隔板和驱动缸,若干间隔板由输送链处向着第一输送通道延伸设置,驱动缸连接至间隔板的后方用于驱动间隔板间歇性的收回或伸出,间隔板在延伸入第一输送通道的输出端时,将第一输送通道分隔为苎麻可沿着输送链继续向后输送的输送区,以及苎麻被间隔板所阻挡进行缓存的停留区;从第一输送通道输入端到达输出端的苎麻被分隔分别进入输送区和停留区,从前一输送区沿着第二输送通道被输送的苎麻到达后一停留区被缓存,当输送链运行时,驱动缸进行间歇性的收回或伸出间隔板,间隔板收回时释放停留区的苎麻继续向后输送,伸出时重新进行苎麻缓存。
作为一种改进,间隔板的左右两面均设置为斜面,进而令间隔板的横截面呈锥形,停留区所在一侧的斜面用于引导缓存的苎麻向远离输送链的方向的活动,输送区所在一侧的斜面用于引导第一输送通道方向输送而来的苎麻向靠近输送链以及第二输送通道的方向活动。
作为一种改进,输送链上均匀设置有用于抵触苎麻进行输送的送料齿,机架在对应三角板的位置设置有用于感应送料齿到达的第一传感器,机架在对应间隔板所在的位置设置有用于感应送料齿离开的第二传感器,当送料齿运行至被第一传感器感应时,第一传感器反馈信号至驱动缸驱动间隔板收回,当送料齿运行至被第二传感器感应时,第一传感器反馈信号至驱动缸驱动间隔板伸出。
作为一种改进,链条式输送机构还包括用于绕设输送链的链轮、以及连接至链轮处进行动力驱动的伺服电机;位于一侧的三角板上的拨杆齿轮作为主动旋转轮,伺服电机通过传动机构连接至主动旋转轮,其他三角板上的拨杆齿轮作为被动旋转轮,被动旋转轮在其三角板处连接有传动齿轮进行联动;主动旋转轮在旋转时其齿结构拨动其相邻的传动齿轮进行旋转,进而带动对应的被动旋转轮旋转;被动旋转轮在旋转时其齿结构拨动其相邻的传动齿轮进行旋转,进而依次传递动力令后序的被动旋转轮旋转;伺服电机作为主动旋转轮旋转的动力源,进而令输送链和拨杆齿轮进行同步驱动。
作为一种改进,送料齿和拨杆齿轮的齿结构在运行时设置为同步经过第二传感器所在位置。
作为一种改进,被动旋转轮同轴设置有第一齿轮,传动齿轮同轴设置有第二齿轮,第一齿轮和第二齿轮相啮合,进而令被动旋转轮和传动齿轮进行联动。
作为一种改进,主动旋转轮、被动旋转轮、传动齿轮的齿结构数量相同,主动旋转轮和被动旋转轮的齿结构具有弧形端,主动旋转轮和被动旋转轮的弧形端在旋转进入传动齿轮的齿结构之间后前部抵触传动齿轮的齿结构进行旋转。
作为一种改进,传动机构包括分别与伺服电机、主动旋转轮连接联动的传动轮、以及于传动轮进行啮合联动的传动链。
本发明的有益效果:通过设置间隔输送机构,在第一输送通道的出口位置形成一个苎麻输送的分流,可以令一部分苎麻先行进入第二输送通道正常的输送之中,然后通过间歇性的收回或伸出间隔板,令缓存的苎麻有序的进入第二输送通道正常的输送之中,可避免传统结构中第一输送通道和第二输送通道同时汇集时的杂乱情况,在起到缓存效果的同时,有利于保证苎麻排列的整齐,避免杂乱的情况发生。
附图说明
图1为本发明的间隔输送机构处的俯视方向结构透视示意图一。
图1
图2为本发明的间隔输送机构处的俯视方向结构透视示意图二。
图2
图3为本发明的间隔输送机构处的正视方向结构示意图。
图3
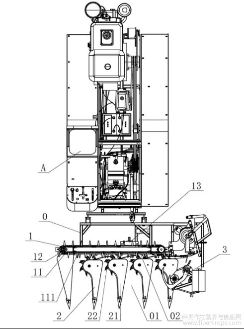
图4为本发明的现有乘坐履带式苎麻收割打捆机的立体结构示意图。
图4
图5为本发明的现有乘坐履带式苎麻收割打捆机的俯视方向结构示意图。
图5
图中:0:机架;01:第一输送通道;02:第二输送通道;011:输送区;012:停留区;1:链条式输送机构;11:输送链;111:送料齿;112:第一传感器;113:第二传感器;12:链轮;13:伺服电机;14:传动机构;141:传动轮;142:传动链;2:分禾机构;21:三角板;22:拨杆齿轮;221:主动旋转轮;222:被动旋转轮;223:弧形端;23:传动齿轮;231:第一齿轮;232:第二齿轮;3:打捆机构;4:间隔机构;41:间隔板;42:驱动缸。
具体实施方式
以下结合附图对本发明的具体实施例做详细说明。
如图1、2、3、4、5所示,为本发明乘坐履带式苎麻收割打捆机的间隔输送机构的具体实施例,其包括机架0,机架0前部设置链条式输送机构1,链条式输送机构1前方设置用于对苎麻进行分散并向后输送的分禾机构2,链条式输送机构1的输出端设置有打捆机构3;分禾机构2沿着链条式输送机构1的输送方向进行布置若干组;链条式输送机构1包括绕设成环形的输送链11,分禾机构2包括三角板21和设置于其后部的拨杆齿轮22;若干组三角板21之间间隔设置形成供苎麻进入的第一输送通道01,拨杆齿轮22于第一输送通道01的后部旋转承接苎麻并输送向输送链11,三角板21和输送链11之间间隔形成苎麻输送的第二输送通道02;还包括有若干组间隔机构4,间隔机构4的数量和位置与第一输送通道01的数量和位置对应设置,间隔机构4包括间隔板41和驱动缸42,若干间隔板41由输送链11处向着第一输送通道01延伸设置,驱动缸42连接至间隔板41的后方用于驱动间隔板41间歇性的收回或伸出,间隔板41在延伸入第一输送通道01的输出端时,将第一输送通道01分隔为苎麻可沿着输送链11继续向后输送的输送区011,以及苎麻被间隔板41所阻挡进行缓存的停留区012;从第一输送通道01输入端到达输出端的苎麻被分隔分别进入输送区011和停留区012,从前一输送区011沿着第二输送通道02被输送的苎麻到达后一停留区012被缓存,当输送链11运行时,驱动缸42进行间歇性的收回或伸出间隔板41,间隔板41收回时释放停留区012的苎麻继续向后输送,伸出时重新进行苎麻缓存。
本发明在使用时,其应用于乘坐履带式苎麻收割打捆机,该种苎麻收割打捆机具有机械动力,由使用者乘坐于驾驶操控位A,可以控制机器的行进以及各部件的开启工作;采用履带轮B作为苎麻收割打捆机的行进机构,对苎麻收割打捆机整体具有良好的支撑功能。在驾驶者操控苎麻收割打捆机使用时,将苎麻收割打捆机车头对应到待收割的苎麻丛,然后驾驶苎麻收割打捆机驶向苎麻丛;苎麻进入分禾机构2,由若干三角板21分隔分别进入各条第一输送通道01,在到达拨杆齿轮22处时,拨杆齿轮22旋转带动苎麻向第一输送通道01的输出端行进,苎麻到达链条式输送机构1下方的切刀机构(图中未示出,参考现有技术)时,苎麻根部被切刀机构切割;切割完成的苎麻进入第二输送通道02,被第二输送通道02带动向输出端输送,进而最终进入打捆机构3,在苎麻数量到达额定标准后由打捆机构3完成苎麻茎秆的打结,打捆好的苎麻向苎麻收割打捆机侧边输出掉落,进而完成了整体的苎麻收割打捆工序。作为本发明的创新,设置由驱动缸42控制的间歇伸缩的间隔板41,从而在第一输送通道01的输出端分隔到达的苎麻,令苎麻分为两部分,到达输送区011的部分继续向后输送,到达停留区012的部分被暂存;并且在第二输送通道02中输送的苎麻在到达下一间隔板41时也会被阻挡暂存;间隔板41的伸缩频率可根据苎麻输送的密集程度进行灵活调整,令一部分苎麻首先从输送区011顺畅进入第二输送通道02中输送,之后收回的间隔板41释放缓存的苎麻,进而缓存的苎麻有序的随后进入第二输送通道02正常的输送之中,可避免传统结构中几处第一输送通道01和第二输送通道02汇集时越来越杂乱的情况。
作为一种改进的具体实施方式,间隔板41的左右两面均设置为斜面,进而令间隔板41的横截面呈锥形,停留区012所在一侧的斜面用于引导缓存的苎麻向远离输送链11的方向的活动,输送区011所在一侧的斜面用于引导第一输送通道01方向输送而来的苎麻向靠近输送链11以及第二输送通道02的方向活动。
如图1所示,两侧的斜面有利于对苎麻进行引导,进而令第一输送通道01顺畅的分隔输送向输送区011和停留区012,并且前序输送过来的苎麻在到达后序停留区012时可沿着间隔板41的斜面向远离输送链11的方向活动,进而避免被输送链11带动,从而更稳定的缓存在停留区012的空间处,待间隔板41收回时再释放继续输送。另一方面,间隔板41形成锥形的截面形状,在伸出时可以更顺畅的插入苎麻茎秆空隙之中完成复位,从而继续分隔输送区011和停留区012。
作为一种改进的具体实施方式,输送链11上均匀设置有用于抵触苎麻进行输送的送料齿111,机架0在对应三角板21的位置设置有用于感应送料齿111到达的第一传感器112,机架0在对应间隔板41所在的位置设置有用于感应送料齿111离开的第二传感器113,当送料齿111运行至被第一传感器112感应时,第一传感器112反馈信号至驱动缸42驱动间隔板41收回,当送料齿111运行至被第二传感器113感应时,第一传感器112反馈信号至驱动缸42驱动间隔板41伸出。
如图1所示,作为间隔板41伸缩的驱动优化,通过送料齿111的运行配合第一传感器112和第二传感器113的感应来实现稳定的苎麻输送效果。送料齿111本身能够推送苎麻在第二输送通道02中有序行进,其的行进将令苎麻逐渐堆积在停留区012,因此当送料齿111运行至被第一传感器112感应时,反馈信号至驱动缸42驱动间隔板41收回,此时开放的空间便于送料齿111持续的推送苎麻向输出端输送;在送料齿111运行至被第二传感器113感应时,反馈信号至驱动缸42驱动间隔板41伸出,间隔板41重新分隔输送区011和停留区012;此时送料齿111经过了间隔板41所在位置,不影响停留区012处苎麻的重新缓存。通过送料齿111的运行与间隔板41的伸缩产生联动,可以良好的控制苎麻的缓存逐渐累积和释放继续输送,令苎麻的输送稳定有序,且不会产生堆积挤压的情况。
作为一种改进的具体实施方式,链条式输送机构1还包括用于绕设输送链11的链轮12、以及连接至链轮12处进行动力驱动的伺服电机13;位于一侧的三角板21上的拨杆齿轮22作为主动旋转轮221,伺服电机13通过传动机构14连接至主动旋转轮221,其他三角板21上的拨杆齿轮22作为被动旋转轮222,被动旋转轮222在其三角板21处连接有传动齿轮23进行联动;主动旋转轮221在旋转时其齿结构拨动其相邻的传动齿轮23进行旋转,进而带动对应的被动旋转轮222旋转;被动旋转轮222在旋转时其齿结构拨动其相邻的传动齿轮23进行旋转,进而依次传递动力令后序的被动旋转轮222旋转;伺服电机13作为主动旋转轮221旋转的动力源,进而令输送链11和拨杆齿轮22进行同步驱动。
如图1、2、3所示,苎麻在到达拨杆齿轮22处时,旋转的拨杆齿轮22主动带动苎麻向第一输送通道01的输出端行进,该主动的带动力良好的抵触了苎麻的后方,在苎麻到达链条式输送机构1下方的切刀机构时,该主动的抵触带动力令苎麻根部更好的被切刀机构完成切割。通过结构的创新性设计进而采用了伺服电机13来进行一组拨杆齿轮22的带动旋转,其作为主动旋转轮221,再依靠旋转时拨动相邻的传动齿轮23,进而带动相邻的被动旋转轮222,即以如图1、2中三个第一输送通道01为例,主动旋转轮221、传动齿轮23、被动旋转轮222、传动齿轮23、被动旋转轮222依次进行动力的传递,实现了所有拨杆齿轮22的主动带动功能,从而令苎麻向第一输送通道01输出端输送的效果更好更稳定,有利于切刀机构稳定的切割苎麻根部,被切割后的苎麻依靠拨杆齿轮22的主动抵触扶持输送,能够避免因苎麻稀疏所带来的倾斜状态,进入第二输送通道02的苎麻较为整齐有序,有利于最终打捆的苎麻整齐有序,保证输送和打捆质量。
以上实施方式良好的控制了部件的成本,直接通过伺服电机13作为动力源,就能带动多组拨杆齿轮22的主动运行。具体实施时,主动旋转轮221可选择靠近第二输送通道02输出端即打捆机构3所在的一侧,适应拨杆齿轮22原先的旋转方向,进而依次带动相邻拨杆齿轮22的旋转,各拨杆齿轮22的旋转良好的主动抵触苎麻完成从第一输送通道01到第二输送通道02的输送,配合链条式输送机构1在后侧提供的输送动力良好稳定的输送苎麻。拨杆齿轮22在第二输送通道02中的旋转良好的推送苎麻,结构上其旋转回所在三角板21之中,不会进入相邻的第一输送通道01干扰苎麻输送。选择伺服电机13作为主动旋转轮221的动力源,进而令输送链11和各拨杆齿轮22同步运行,进而可以更好的保证输送链11及其送料齿111和拨杆齿轮22在运行时保持高度的速度一致性,令苎麻的持续输送状态稳定,提高了部件运行的同步性。在苎麻收割打捆机运行过程中,苎麻是持续到达拨杆齿轮22处,若被动旋转轮222由苎麻抵触令被动旋转轮222、传动齿轮23产生了向前的旋转,主动旋转轮221也可以在持续主动运行的过程中追赶上传动齿轮23进而同步对传动齿轮23以及后序的被动旋转轮222进行带动。
作为一种改进的具体实施方式,送料齿111和拨杆齿轮22的齿结构在运行时设置为同步经过第二传感器113所在位置。
该实施方式在图中未示出,具体实施时,送料齿111和拨杆齿轮22同步运行,将拨杆齿轮22的齿结构设置为与送料齿111同步经过第二传感器113所在位置,进而可以相适应的配合在间隔板41收回时同步推送苎麻至输送区011,之后在送料齿111和拨杆齿轮22的齿结构均经过间隔板41后,间隔板41重新伸出,不影响停留区012处苎麻的重新缓存。作为一种改进的具体实施方式,被动旋转轮222同轴设置有第一齿轮231,传动齿轮23同轴设置有第二齿轮232,第一齿轮231和第二齿轮232相啮合,进而令被动旋转轮222和传动齿轮23进行联动。
如图1、2、3所示,第一齿轮23和第二齿轮232通过轴结构可旋转的设置在三角板21上,两者啮合实现被动旋转轮222和传动齿轮23的联动,被动旋转轮222的齿结构本身较长,因此在结构设计时将其在高度方向上与传动齿轮23错开,即如图3所示,主动旋转轮221与左侧相邻第一传动齿轮23同高度进行配合传动,第一传动齿轮23和相啮合联动的第一被动旋转轮222所处不同高度,第一被动旋转轮222靠下设置,旋转时不与第一传动齿轮23干涉;而第一被动旋转轮222与左侧相邻第二传动齿轮23同高度进行配合传动,第二传动齿轮23和相啮合联动的第二被动旋转轮222所处不同高度,第二被动旋转轮222靠下设置,旋转时不与第二传动齿轮23干涉。输送链11连同送料齿111、拨杆齿轮22、驱动缸42在设计时如图3所示设置在不同的高度位置,相互在运行时不会产生结构上的干涉。
作为一种改进的具体实施方式,主动旋转轮221、被动旋转轮222、传动齿轮23的齿结构数量相同,主动旋转轮221和被动旋转轮222的齿结构具有弧形端223,主动旋转轮221和被动旋转轮222的弧形端223在旋转进入传动齿轮23的齿结构之间后前部抵触传动齿轮23的齿结构进行旋转。
如图1、2、3所示,主动旋转轮221、被动旋转轮222、传动齿轮23的齿结构数量均设置为4?6个,主动旋转轮221的单个齿结构在旋转时带动被动旋转轮222、传动齿轮23旋转大概90?60度。主动旋转轮221和被动旋转轮222的齿结构设置弧形端223,依靠弧形端223柔和的接触传动齿轮23的齿结构,弧形端223在旋转时不会产生尖角,减少弧形端223与传动齿轮23在接触以及活动时的硬性磕碰,提高运行稳定性,减少磨损。
作为一种改进的具体实施方式,传动机构14包括分别与伺服电机13、主动旋转轮221连接联动的传动轮141、以及于传动轮141进行啮合联动的传动链142。
如图1、2所示,在具体实施时,传动轮141和传动链142在机架0的下部布置并连接,外部套设外壳避免杂物进入干扰;该位置位于结构的侧边,避让开了切刀机构,并可通过优化与相邻的打捆机构3共同进行布置,便于设备部件的整合布局。
以上仅是本发明的优选实施方式,本发明的保护范围并不仅局限于上述实施例,凡属于本发明思路下的技术方案均属于本发明的保护范围。应当指出,对于本技术领域的普通技术人员来说,在不脱离本发明原理前提下的若干改进和润饰,这些改进和润饰也应视为本发明的保护范围。
文章摘自国家发明专利,发明人:黄继承,张彬,田昆鹏,沐森林,孔凡婷,牟忠秋,申请号:202510914932.5,申请日:2025.07.02。





