摘 要:本发明涉及抗拉扯测试装置技术领域,公开了一种用于苎麻面料的抗撕扯检测装置,该装置包括底板和拉力传感器,所述底板的顶部转动安装有转动板,所述转动板的顶部对称固定连接有侧板,还包括:所述拉力传感器固定安装在一侧所述侧板上,两个所述侧板相靠近的一侧均设置有拉伸组件,所述转动板的顶部对称设置有压紧组件,所述拉伸组件包括驱动单元和分散单元,所述驱动单元包括对称安装的电动推杆,所述电动推杆的输出端固定连接有移动板,所述移动板的内部四周滑动安装有滑杆,解决了对面料的两侧进行定位拉扯,可能使得面料受力不均,在拉扯检测时的稳定性不高,导致力值测量结果不准确的问题。
权利要求书
1 .一种用于苎麻面料的抗撕扯检测装置,包括底板(1)和拉力传感器(4),所述底板(1)的顶部转动安装有转动板(2),所述转动板(2)的顶部对称固定连接有侧板(3);
其特征在于,还包括:
所述拉力传感器(4)固定安装在一侧所述侧板(3)上,两个所述侧板(3)相靠近的一侧均设置有拉伸组件(5),所述转动板(2)的顶部对称设置有压紧组件(6);
所述拉伸组件(5)包括驱动单元和分散单元,所述驱动单元包括对称安装的电动推杆(51),所述电动推杆(51)的输出端固定连接有移动板(52),所述移动板(52)的内部四周滑动安装有滑杆(53),所述滑杆(53)远离移动板(52)的一侧固定连接有同一个拉动板(54),所述滑杆(53)的外侧套接有弹簧一(55);
所述分散单元包括固定连接在同一侧上下两个所述滑杆(53)之间的竖杆(59),所述竖杆(59)的中部固定连接有斜推杆(510),所述拉动板(54)靠近移动板(52)的一侧中部滑动安装有限位柱(512),所述限位柱(512)的外侧对称固定连接有安装板(513),所述安装板(513)的内部转动安装有弯折杆(514);所述弯折杆(514)与限位柱(512)之间固定安装有弹簧二(515),所述弯折杆(514)靠近拉动板(54)的一侧转动安装有套块(516),所述套块(516)靠近拉动板(54)的一侧固定连接有滑柱(518),所述滑柱(518)与拉动板(54)滑动安装?
2.根据权利要求1所述的一种用于苎麻面料的抗撕扯检测装置,其特征在于:左侧所述电动推杆(51)与另一侧所述侧板(3)固定安装,右侧所述电动推杆(51)固定安装在拉力传感器(4)上,所述弹簧一(55)位于移动板(52)靠近电动推杆(51)的一侧,所述弹簧一(55)的一端与移动板(52)固定连接,所述弹簧一(55)的另一端与滑杆(53)的端部固定连接,所述转动板(2)的顶部对称开设有滑槽(56)?
3.根据权利要求2所述的一种用于苎麻面料的抗撕扯检测装置,其特征在于:所述滑槽(56)的内部固定连接有导杆(57),所述拉动板(54)的底部固定连接有底块(58),所述底块(58)与导杆(57)滑动连接,所述拉动板(54)靠近移动板(52)的一侧中部开设有中心槽(511)?
4.根据权利要求3所述的一种用于苎麻面料的抗撕扯检测装置,其特征在于:所述限位柱(512)与中心槽(511)滑动连接,所述弹簧二(515)位于安装板(513)靠近拉动板(54)的一侧,所述弯折杆(514)不少于两个,所述拉动板(54)靠近移动板(52)的一侧开设有侧槽(517)?
5.根据权利要求4所述的一种用于苎麻面料的抗撕扯检测装置,其特征在于:所述滑柱(518)与侧槽(517)滑动连接,所述滑柱(518)远离套块(516)的一端固定连接有弹簧三(519),所述弹簧三(519)与侧槽(517)的内壁固定连接?
6.根据权利要求5所述的一种用于苎麻面料的抗撕扯检测装置,其特征在于:所述滑柱(518)的内部开设有内槽(520),所述侧槽(517)的内部纵向固定连接有限位杆(521),所述限位杆(521)与内槽(520)滑动连接?
7 .根据权利要求1所述的一种用于苎麻面料的抗撕扯检测装置,其特征在于:所述压紧组件(6)包括延伸板(68)和固定连接在底板(1)顶部中间的转轴(61),所述转动板(2)与转轴(61)转动连接,所述拉动板(54)远离移动板(52)的一侧对称开设有调节槽(62),所述调节槽(62)的内部转动连接有双头丝杆(63),所述双头丝杆(63)的顶端穿过拉动板(54)固定连接有顶块(64),所述双头丝杆(63)的外侧对称套接有调节板(65)?
8.根据权利要求7所述的一种用于苎麻面料的抗撕扯检测装置,其特征在于:所述调节板(65)与双头丝杆(63)螺纹连接,所述调节板(65)的一侧固定连接有夹板(66),所述夹板(66)位于拉动板(54)的外侧部,所述夹板(66)的两端均开设有插槽(67),所述延伸板(68)的一侧固定连接有插块(69),所述插块(69)与插槽(67)滑动连接?
9.根据权利要求8所述的一种用于苎麻面料的抗撕扯检测装置,其特征在于:所述夹板(66)的顶部对称固定连接有插销(610),所述插块(69)的内部竖直开设有定位孔,所述插销(610)穿过夹板(66)与定位孔插接固定,所述转动板(2)的内部对称滑动连接有定位杆(611),所述定位杆(611)的顶端固定连接有顶盘(612),所述定位杆(611)的外侧套接有弹簧四(613),所述弹簧四(613)的两端分别与顶盘(612)和转动板(2)固定连接,所述底板(1)的顶部对称开设有插孔(614),所述定位杆(611)与插孔(614)卡合连接?
技术领域
本发明涉及抗拉扯测试装置技术领域,具体为一种用于苎麻面料的抗撕扯检测装置。
背景技术
抗撕扯性属于苎麻面料的力学性能检测范畴,具体包括撕破强力、断裂应力等测试项目,可采用梯形法进行检测,通过对苎麻面料施加拉伸力,直至苎麻面料撕裂,并记录最大撕破强力值。
如公告号为CN217277398U的一种布料拉伸力检测装置,包括工作台,工作台的上端面安装有固定框,固定框的内部活动安装有螺纹杆,移动板螺纹安装在螺纹杆上,两移动板相向的一侧固定有第一夹板,工作台顶端固定有支撑杆,支撑杆顶端安装有机架,机架的顶端安装有旋转电机,旋转电机输出端连接有螺纹柱,螺纹柱上螺纹安装有升降板,升降板的左侧与支撑杆滑动连接,升降板的下端固定安装有拉伸力检测器,拉伸力检测器的底端安装有固定板,支撑板安装在固定板的底端,支撑板的侧端安装有电动伸缩杆,电动伸缩杆的另一端安装有第二夹板,支撑杆侧端安装有控制面板,便于检测布料,检测简单方便,但是,现有的面料抗拉扯检测方法,通常会对面料的两侧单点进行定位拉扯,使得面料受力不均,在拉扯检测时的稳定性不高,可能使试样在局部区域承受更高应力,导致过早断裂或撕裂,出现测试强度低于实际材料性能的情况,导致力值测量结果不准确,且对于不规则形状的面料,在进行横向拉扯检测或纵向拉扯检测时,由于尺寸不同,固定位置的拉扯检测装置不便于适应尺寸检测,还需要灵活调节拉扯检测装置的角度使用。
所以提出了一种用于苎麻面料的抗撕扯检测装置,以便于解决上述提出的问题。
发明内容
本发明的目的在于提供一种用于苎麻面料的抗撕扯检测装置,以解决对面料的两侧进行定位拉扯,可能使得面料受力不均,在拉扯检测时的稳定性不高,导致力值测量结果不准确的问题。
为实现上述目的,本发明提供如下技术方案:一种用于苎麻面料的抗撕扯检测装置,包括底板和拉力传感器,所述底板的顶部转动安装有转动板,所述转动板的顶部对称固定连接有侧板;
还包括:
所述拉力传感器固定安装在一侧所述侧板上,两个所述侧板相靠近的一侧均设置有拉伸组件,所述转动板的顶部对称设置有压紧组件;
所述拉伸组件包括驱动单元和分散单元,所述驱动单元包括对称安装的电动推杆,所述电动推杆的输出端固定连接有移动板,所述移动板的内部四周滑动安装有滑杆,所述滑杆远离移动板的一侧固定连接有同一个拉动板,所述滑杆的外侧套接有弹簧一;
所述分散单元包括固定连接在同一侧上下两个所述滑杆之间的竖杆,所述竖杆的中部固定连接有斜推杆,所述拉动板靠近移动板的一侧中部滑动安装有限位柱,所述限位柱的外侧对称固定连接有安装板,所述安装板的内部转动安装有弯折杆;
所述弯折杆与限位柱之间固定安装有弹簧二,所述弯折杆靠近拉动板的一侧转动安装有套块,所述套块靠近拉动板的一侧固定连接有滑柱,所述滑柱与拉动板滑动安装。
优选的,左侧所述电动推杆与另一侧所述侧板固定安装,右侧所述电动推杆固定安装在拉力传感器上,所述弹簧一位于移动板靠近电动推杆的一侧,所述弹簧一的一端与移动板固定连接,所述弹簧一的另一端与滑杆的端部固定连接,所述转动板的顶部对称开设有滑槽。
通过采用上述技术方案,启动两侧的电动推杆,电动推杆收缩带动移动板移动,拉力传感器用于检测拉力数值,拉动板先不动,弯折杆被撑开,将电动推杆的拉伸力较为均匀地分散到拉动板上,避免拉扯受力不均的情况。
优选的,所述滑槽的内部固定连接有导杆,所述拉动板的底部固定连接有底块,所述底块与导杆滑动连接,所述拉动板靠近移动板的一侧中部开设有中心槽。
通过采用上述技术方案,拉动板移动带动底块移动,底块在导杆上滑动,便于辅助拉动板的平稳滑动。
优选的,所述限位柱与中心槽滑动连接,所述弹簧二位于安装板靠近拉动板的一侧,所述弯折杆不少于两个,所述拉动板靠近移动板的一侧开设有侧槽。
通过采用上述技术方案,移动板移动时会带动限位柱移动,限位柱在中心槽的内部滑动,限位柱带动安装板和弯折杆移动。
优选的,所述滑柱与侧槽滑动连接,所述滑柱远离套块的一端固定连接有弹簧三,所述弹簧三与侧槽的内壁固定连接。
通过采用上述技术方案,弯折杆移动会带动套块和滑柱移动,滑柱在侧槽的内部横向滑动并拉伸弹簧三。
优选的,所述滑柱的内部开设有内槽,所述侧槽的内部纵向固定连接有限位杆,所述限位杆与内槽滑动连接。
通过采用上述技术方案,内槽用于对限位杆让位。
优选的,所述压紧组件包括延伸板和固定连接在底板顶部中间的转轴,所述转动板与转轴转动连接,所述拉动板远离移动板的一侧对称开设有调节槽,所述调节槽的内部转动连接有双头丝杆,所述双头丝杆的顶端穿过拉动板固定连接有顶块,所述双头丝杆的外侧对称套接有调节板。
通过采用上述技术方案,操作人员转动顶块,顶块带动双头丝杆转动,调节板在调节槽的内部滑动,双头丝杆转动使得两个调节板相互靠近,调节板带动夹板移动,两块夹板将面料的侧端夹紧。
优选的,所述调节板与双头丝杆螺纹连接,所述调节板的一侧固定连接有夹板,所述夹板位于拉动板的外侧部,所述夹板的两端均开设有插槽,所述延伸板的一侧固定连接有插块,所述插块与插槽滑动连接。
通过采用上述技术方案,操作人员将插块插入到插槽中,再将插销插入到插块中,便于对延伸板固定,从而能提高夹持长度。
优选的,所述夹板的顶部对称固定连接有插销,所述插块的内部竖直开设有定位孔,所述插销穿过夹板与定位孔插接固定,所述转动板的内部对称滑动连接有定位杆,所述定位杆的顶端固定连接有顶盘,所述定位杆的外侧套接有弹簧四,所述弹簧四的两端分别与顶盘和转动板固定连接,所述底板的顶部对称开设有插孔,所述定位杆与插孔卡合连接。
通过采用上述技术方案,操作人员通过拉伸顶盘,顶盘拉伸弹簧四,使得定位杆从插孔中抽出,旋转转动板九十度,松开顶盘,弹簧四的弹力带动顶盘和定位杆插入到对应的插孔中,便于调节装置的角度使用。
与现有技术相比,本发明的有益效果是:
1、通过设置拉伸组件,操作人员将待测面料的两侧分别通过压紧组件固定住,启动两侧的电动推杆,电动推杆收缩带动移动板移动,拉力传感器用于检测拉力数值,拉动板先不动,移动板移动在滑杆上滑动并压缩弹簧一,移动板带动限位柱移动,限位柱在中心槽的内部滑动,限位柱带动安装板和弯折杆移动,弯折杆带动套块和滑柱移动,滑柱在侧槽的内部横向滑动并拉伸弹簧三,内槽用于对限位杆让位,竖杆和斜推杆的位置不动,当弯折杆受到斜推杆的挤压时,弯折杆会转动,弯折杆带动套块移动,套块带动滑柱纵向移动,使得弯折杆被撑开,直到限位柱的端部卡在中心槽靠近移动板的一侧,此时弹簧一被压缩到极限,移动板继续移动时会通过滑杆、限位柱和弯折杆带动拉动板移动,拉动板再对面料拉伸检测,从而将电动推杆的拉伸力较为均匀地分散到拉动板上,避免拉扯受力不均的情况,提高检测精度,直到面料被拉扯断裂,拉力传感器得到拉力数值,拉力传感器的拉力数值减去弹簧一压缩到极限所需的压力,即可得到最终拉力检测的数值,解决了对面料的两侧进行定位拉扯,可能使得面料受力不均,在拉扯检测时的稳定性不高,导致力值测量结果不准确的问题;
2、通过设置压紧组件,操作人员将面料的侧端,置于上下两个调节板之间,再转动顶块,顶块带动双头丝杆转动,调节板在调节槽的内部滑动,双头丝杆转动使得两个调节板相互靠近,调节板带动夹板移动,两块夹板将面料的侧端夹紧,夹板的夹持位置设置有摩擦面,便于对面料的两侧端稳定夹紧,从而进行后续的拉扯检测,在面料的长度较长时,将插块插入到插槽中,再将插销插入到插块中,便于对延伸板固定,从而能提高夹持长度,且操作人员通过拉伸顶盘,顶盘拉伸弹簧四,使得定位杆从插孔中抽出,旋转转动板九十度,松开顶盘,弹簧四的弹力带动顶盘和定位杆插入到对应的插孔中,便于调节装置的角度使用,提高使用灵活性。
附图说明
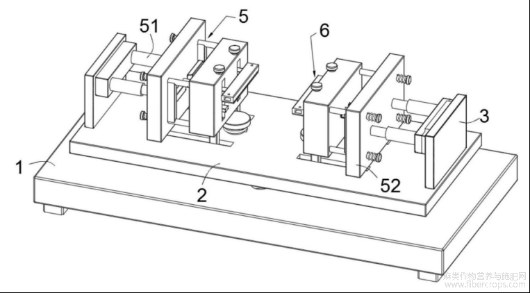
图1为本发明第一立体整体结构示意图;
图1
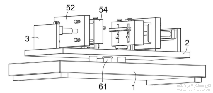
图2为本发明第二立体整体结构示意图;
图2
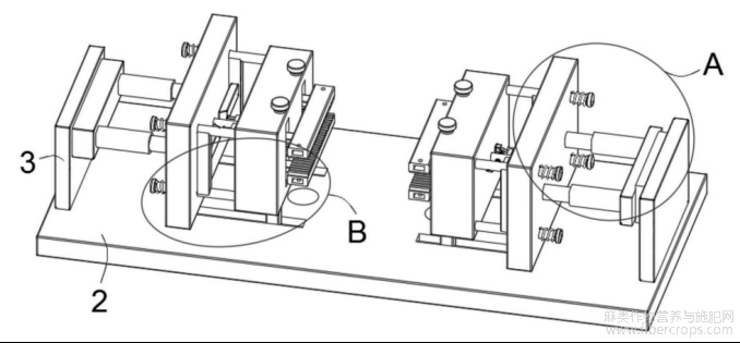
图3为本发明侧板结构示意图;
图3
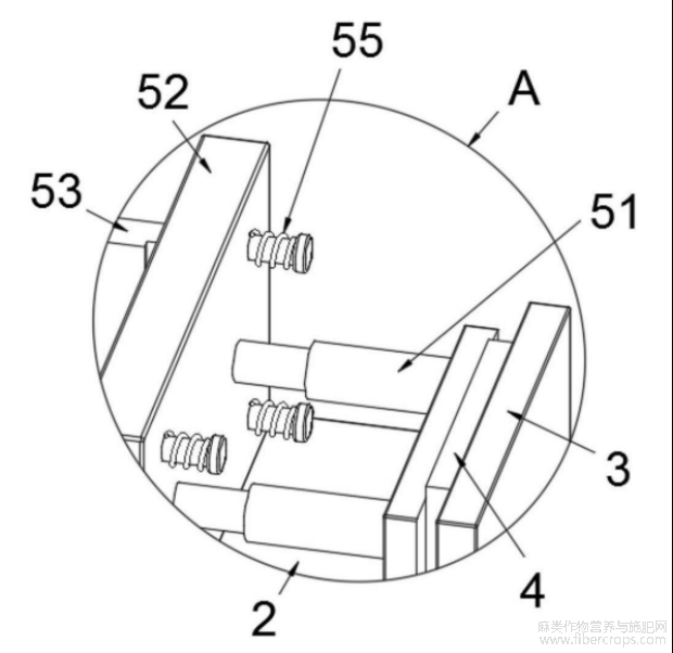
图4为本发明图3中A处放大结构示意图;
图4
图5为本发明图3中B处放大结构示意图;
图5
图6为本发明拉动板结构示意图;
图6
图7为本发明图6中C处放大结构示意图;
图7
图8为本发明拉动板横剖视结构示意图;
图8
图9为本发明图8中D处放大结构示意图;
图9
图10为本发明滑动杆滑出示意图;
图10
图11为本发明拉动板纵剖视结构示意图;
图11
图12为本发明图11中E处放大结构示意图;
图12
图13为本发明夹板剖视结构示意图;
图13
图14为本发明定位杆结构示意图?
图14
图中:1?底板;2?转动板;3?侧板;4?拉力传感器;5?拉伸组件;51?电动推杆;52?移动板;53?滑杆;54?拉动板;55?弹簧一;56?滑槽;57?导杆;58?底块;59?竖杆;510?斜推杆;511?中心槽;512?限位柱;513?安装板;514?弯折杆;515?弹簧二;516?套块;517?侧槽;518?滑柱;519?弹簧三;520?内槽;521?限位杆;6?压紧组件;61?转轴;62?调节槽;63?双头丝杆;64?顶块;65?调节板;66?夹板;67?插槽;68?延伸板;69?插块;610?插销;611?定位杆;612?顶盘;613?弹簧四;614?插孔?
具体实施方式
下面将结合本发明实施例中的附图,对本发明实施例中的技术方案进行清楚、完整地描述,显然,所描述的实施例仅仅是本发明一部分实施例,而不是全部的实施例。基于本发明中的实施例,本领域普通技术人员在没有做出创造性劳动前提下所获得的所有其他实施例,都属于本发明保护的范围。
请参阅图1?图3,本发明提供一种技术方案:一种用于苎麻面料的抗撕扯检测装置,包括底板1和拉力传感器4,底板1的顶部转动安装有转动板2,转动板2的顶部对称固定连接有侧板3。
拉力传感器4固定安装在一侧侧板3上,两个侧板3相靠近的一侧均设置有拉伸组件5。
拉伸组件5包括驱动单元和分散单元,驱动单元包括对称安装的电动推杆51,电动推杆51的输出端固定连接有移动板52,移动板52的内部四周滑动安装有滑杆53,滑杆53远离移动板52的一侧固定连接有同一个拉动板54,滑杆53的外侧套接有弹簧一55。
左侧电动推杆51与另一侧侧板3固定安装,右侧电动推杆51固定安装在拉力传感器4上,弹簧一55位于移动板52靠近电动推杆51的一侧,弹簧一55的一端与移动板52固定连接,弹簧一55的另一端与滑杆53的端部固定连接,转动板2的顶部对称开设有滑槽56。
滑槽56的内部固定连接有导杆57,拉动板54的底部固定连接有底块58,底块58与导杆57滑动连接,拉动板54靠近移动板52的一侧中部开设有中心槽511。
分散单元包括固定连接在同一侧上下两个滑杆53之间的竖杆59,竖杆59的中部固定连接有斜推杆510,拉动板54靠近移动板52的一侧中部滑动安装有限位柱512,限位柱512的外侧对称固定连接有安装板513,安装板513的内部转动安装有弯折杆514。
弯折杆514与限位柱512之间固定安装有弹簧二515,弯折杆514靠近拉动板54的一侧转动安装有套块516,套块516靠近拉动板54的一侧固定连接有滑柱518,滑柱518与拉动板54滑动安装。
限位柱512与中心槽511滑动连接,弹簧二515位于安装板513靠近拉动板54的一侧,弯折杆514不少于两个,拉动板54靠近移动板52的一侧开设有侧槽517。
滑柱518与侧槽517滑动连接,滑柱518远离套块516的一端固定连接有弹簧三519,弹簧三519与侧槽517的内壁固定连接。
滑柱518的内部开设有内槽520,侧槽517的内部纵向固定连接有限位杆521,限位杆521与内槽520滑动连接。
实施例一:如图4?图10所示,操作人员将待测面料的两侧分别通过压紧组件6固定住,启动两侧的电动推杆51,电动推杆51收缩带动移动板52移动,拉力传感器4用于检测拉力数值,拉动板54先不动,移动板52移动在滑杆53上滑动并压缩弹簧一55,移动板52带动限位柱512移动,限位柱512在中心槽511的内部滑动,限位柱512带动安装板513和弯折杆514移动。
弯折杆514带动套块516和滑柱518移动,滑柱518在侧槽517的内部横向滑动并拉伸弹簧三519,内槽520用于对限位杆521让位,竖杆59和斜推杆510的位置不动,当弯折杆514受到斜推杆510的挤压时,弯折杆514会转动,弯折杆514带动套块516移动,套块516带动滑柱518纵向移动,使得弯折杆514被撑开。
直到限位柱512的端部卡在中心槽511靠近移动板52的一侧,此时弹簧一55被压缩到极限,移动板52继续移动时会通过滑杆53、限位柱512和弯折杆514带动拉动板54移动,拉动板54再对面料拉伸检测,从而将电动推杆51的拉伸力较为均匀地分散到拉动板54上,避免拉扯受力不均的情况,提高检测精度,直到面料被拉扯断裂,拉力传感器4得到拉力数值,拉力传感器4的拉力数值减去弹簧一55压缩到极限所需的压力,即可得到最终拉力检测的数值,解决了对面料的两侧进行定位拉扯,可能使得面料受力不均,在拉扯检测时的稳定性不高,导致力值测量结果不准确的问题。
转动板2的顶部对称设置有压紧组件6,压紧组件6包括延伸板68和固定连接在底板1顶部中间的转轴61,转动板2与转轴61转动连接,拉动板54远离移动板52的一侧对称开设有调节槽62,调节槽62的内部转动连接有双头丝杆63,双头丝杆63的顶端穿过拉动板54固定连接有顶块64,双头丝杆63的外侧对称套接有调节板65。
调节板65与双头丝杆63螺纹连接,调节板65的一侧固定连接有夹板66,夹板66位于拉动板54的外侧部,夹板66的两端均开设有插槽67,延伸板68的一侧固定连接有插块69,插块69与插槽67滑动连接。
夹板66的顶部对称固定连接有插销610,插块69的内部竖直开设有定位孔,插销610穿过夹板66与定位孔插接固定,转动板2的内部对称滑动连接有定位杆611,定位杆611的顶端固定连接有顶盘612,定位杆611的外侧套接有弹簧四613,弹簧四613的两端分别与顶盘612和转动板2固定连接,底板1的顶部对称开设有插孔614,定位杆611与插孔614卡合连接。
实施例二:如图11?图14所示,操作人员将面料的侧端,置于上下两个调节板65之间,再转动顶块64,顶块64带动双头丝杆63转动,调节板65在调节槽62的内部滑动,双头丝杆63转动使得两个调节板65相互靠近,调节板65带动夹板66移动,两块夹板66将面料的侧端夹紧,夹板66的夹持位置设置有摩擦面,便于对面料的两侧端稳定夹紧,从而进行后续的拉扯检测。
在面料的长度较长时,将插块69插入到插槽67中,再将插销610插入到插块69中,便于对延伸板68固定,从而能提高夹持长度,且操作人员通过拉伸顶盘612,顶盘612拉伸弹簧四613,使得定位杆611从插孔614中抽出,旋转转动板2九十度,松开顶盘612,弹簧四613的弹力带动顶盘612和定位杆611插入到对应的插孔614中,便于调节装置的角度使用,提高使用灵活性。
工作原理:在使用该装置时,首先,如图1?图14所示,操作人员将面料的侧端,置于上下两个调节板65之间,再转动顶块64,两块夹板66将面料的侧端夹紧,启动两侧的电动推杆51,电动推杆51收缩带动移动板52移动,拉力传感器4用于检测拉力数值,拉动板54先不动,移动板52移动在滑杆53上滑动并压缩弹簧一55,移动板52带动限位柱512移动,限位柱512在中心槽511的内部滑动,限位柱512带动安装板513和弯折杆514移动,滑柱518在侧槽517的内部横向滑动并拉伸弹簧三519,当弯折杆514受到斜推杆510的挤压时,弯折杆514会转动,使得弯折杆514被撑开,直到限位柱512的端部卡在中心槽511靠近移动板52的一侧,此时弹簧一55被压缩到极限,移动板52继续移动时会通过滑杆53、限位柱512和弯折杆514带动拉动板54移动,拉动板54再对面料拉伸检测,从而将电动推杆51的拉伸力较为均匀地分散到拉动板54上,避免拉扯受力不均的情况,提高检测精度,直到面料被拉扯断裂,拉力传感器4得到拉力数值,拉力传感器4的拉力数值减去弹簧一55压缩到极限所需的压力,即可得到最终拉力检测的数值,解决了对面料的两侧进行定位拉扯,可能使得面料受力不均,在拉扯检测时的稳定性不高,导致力值测量结果不准确的问题。
本说明书中未作详细描述的内容属于本领域专业技术人员公知的现有技术。
尽管参照前述实施例对本发明进行了详细的说明,对于本领域的技术人员来说,其依然可以对前述各实施例所记载的技术方案进行修改,或者对其中部分技术特征进行等同替换,凡在本发明的精神和原则之内,所做的任何修改、等同替换、改进等,均应包含在本发明的保护范围之内。
文章摘自国家发明专利,一种用于苎麻面料的抗撕扯检测装置,发明人:王坤,王伟,周虎云,朱邵驿,谢谨国,申请号:202510984979.9,申请日:2025.07.17。














